Ace Security Fencing

Steel Palisade

Industrial Spec

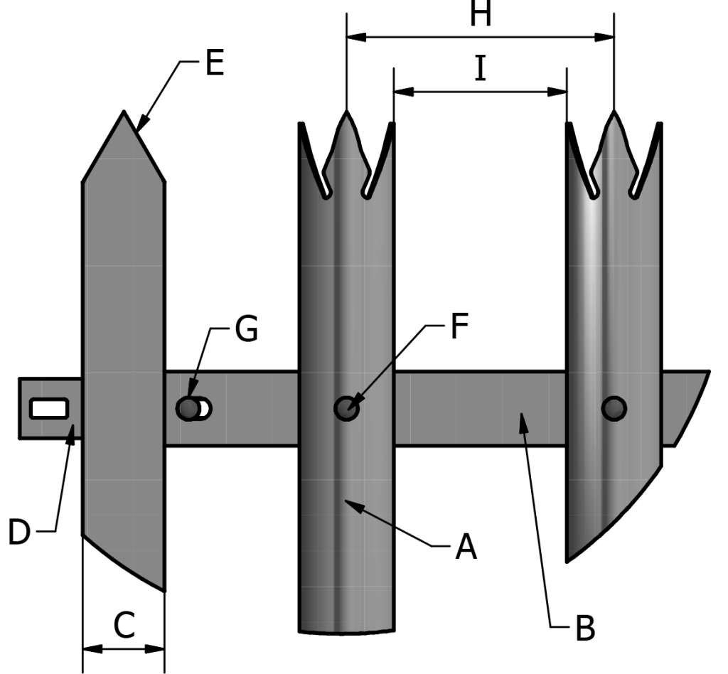
A : 65×2.0/2.5/3.0mm Rolled Pale

B: 50x50x3.0 / 5.0mm Angle Iron Crossbar

C: 100×55 AA IPE Post

D: Fishplate

E: Spear Top

F: M8 Shear nut & Cup Square Bolt

G: M12 Shear Nut & Cup Square Bolt

H: 16 Pales @ 180 Centres

I: 116mm Between Pales