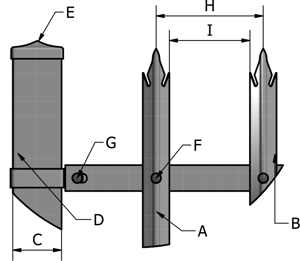
Ace Security Fencing

Steel Palisade

Domestic Spec

A : 42×2.0mm Rolled Trident Pale

B: 40x40x2.5mm Angle Iron Crossbar

C: 76x76x1.6 Square Tube Post

D: 3mm Post Bracket

E: Plastic Post Cap

F: M6 Shear nut & Cup Square Bolt

G: M8 Shear Nut & Cup Square Bolt

H: 17 Pales @ 165 Centres

I: 122mm Between Pales